Skip to content

开启魔法

网站运营,移动网站运营,站长运营,站长经验,网站运营资讯

  • Next 星链与5G之争:和谐共存或许更佳
  • Previous 企业如何巧妙利用节日IP进行品牌营销

标签

AR art Astra best Dropshipping Elementor HM hosting IT load POP SS Tor VPN VPS WP 使用 分享 发货 可能 吴明毅 商业评论 地址 存在 建网站 推荐 支持 文章 方法 更新 机 步骤 漫画家 潇湘Lee 用 申请 网站 老刀 自己 芒果 设置 通 速卖通 问题 驼鹿

ad

           openmagic_cn_all_square

近期文章

  • 第三代人形机器人预计即将发布
  • 计划自主开发图形处理器,已列入资本支出项目
  • 首个大规模人形机器人生产工厂投入运营,年产能达100万台
  • 福特宣布停止电动汽车业务,四年亏损超过百亿
  • A1和Q2停产,转型为电动车型
  • 一季度财报发布:营收223亿美元,净利润同比增长超过50%
  • 推出自愿离职买断计划,涵盖最多7%员工
  • 混元Hy3预览发布并开源:首个重建模型,智能体能力显著提升
  • 智能座舱解决方案累计搭载超1800万辆,智能驾驶云图新增搭载量同比增长三倍
  • 治理不当内容 重点关注换脸、盗用声音等违规行为
  • 汽车智能化不仅是人工智能在车辆上的应用,更是对汽车行业的变革。
  • 一季度财报显示营收223.87亿美元 净利润同比大增环比下降
  • 大规模裁员8000人,6000个职位招聘暂停
  • 编程中AI应用生成的新代码比例超过70%
  • 马斯克:从长远来看,未来的驾车型是全新跑车
  • 未来AI芯片将面临严重短缺,自制芯片不足将引发瓶颈问题
  • 破产重组申请 官方回应发布
  • 2026年第一季度营收223.9亿美元,调整后净利润同比增长56%
  • 18系列发布,骁龙8 Elite Gen6规格曝光:采用2nm工艺与新架构
  • 混元3.0大模型发布,人工智能性能提升40%
  • 增强的人工智能使个人数据成为重要障碍
  • 2025年7个月交付10万台,销售额超400亿
  • 娱乐行业格局变化,收购方案获批
  • 累计下架侵权视频超53.8万条
  • 新款手机配置曝光:无主动散热风扇,影像方案尚未确定
  • A1和Q2停产,推出新车型和纯电跑车
  • 手机性能揭秘:双亿像素镜头与超长续航电池
  • 加强版权保护以应对AI时代的挑战
  • 推出六款新产品,扩展可穿戴和智能家居领域
  • Y600 Pro出现在终端产品库:配备10200mAh大容量电池
  • 俞敏洪率领10人团队前往南极
  • 推出6款新产品,包括智能设备和监控设备等
  • 6万家企业指控云服务定价不公,面临21亿英镑集体诉讼
  • 暂停页面的争议广告被撤回并展开调查
  • 汽车出行AI助手发布:从被动响应到主动理解,智能座舱迎来AI时代
  • 新车型上市,会员购车享95折,增程版起售价127155元
  • 双董事长身份:推动人工智能商业模式创新与突破
  • 游戏本与新款系列发布
  • Siri团队负责人可能辞职:职位变动引发心理落差
  • 2026财年第四季度净利润达到2.45亿美元,同比实现增长
    • 虚拟信用卡
    • 美国开户
    • Current Page Parent 互联网技术
    • 电商
    • Current Page Parent 互联网资讯
    • 营销
    • 人工智能
    • 短视频
    • 智能汽车
    • Google
    • Current Page Parent 互联网技术
    • Current Page Parent 互联网资讯
    • 营销
    • 电商
    • 人工智能
    • 虚拟信用卡
    • 美国开户
    • Current Page Parent 互联网技术
    • 电商
    • Current Page Parent 互联网资讯
    • 营销
    • 人工智能
    • 短视频
    • 智能汽车
    • Google
    • Current Page Parent 互联网技术
    • Current Page Parent 互联网资讯
    • 营销
    • 电商
    • 人工智能

    互联网技术 / 互联网资讯 · 2024年1月3日 0

    openmagic_cn_banner

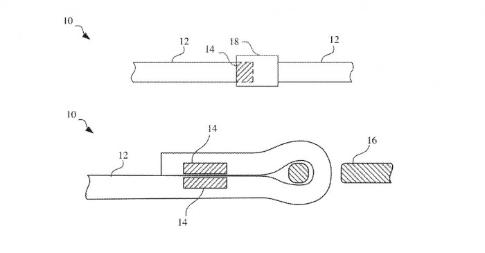
    新专利申请显示苹果扩大磁铁在可穿戴表带表壳盖上的使用范围

     

    openmagic_cn_banner

    openmagic_cn_banner

    这份专利 新专利申请显示苹果扩大磁铁在可穿戴表带表壳盖上的使用范围 新专利申请显示苹果扩大磁铁在可穿戴表带表壳盖上的使用范围

    Share on Facebook
    Share on X

    You may also like...

    • 盛趣游戏《FF14》迎来11周年 多重联动带来精彩体验

      盛趣游戏《FF14》迎来11周年 多重联动带来精彩体验

    • 阿里联手中科大、浙大、华科大等高校研发4项AI安全技术 获国际会议收录

      阿里联手中科大、浙大、华科大等高校研发4项AI安全技术 获国际会议收录

    • 2021年比特币投资用户调查报告:Grayscale调研结果

      2021年比特币投资用户调查报告:Grayscale调研结果

    发表评论 取消回复

    电子邮件地址不会被公开。 必填项已用*标注

    openmagic_cn_banner
    津ICP备2023002605号-1

    openmagic.cn

    Powered by WordPress. Theme by Alx.