Skip to content
网站运营,移动网站运营,站长运营,站长经验,网站运营资讯
Next
《从零开始的异世界生活》全新OVA秋季上映 艾米莉亚被冰封?
Previous
高通和NTT DOCOMO携手在日本实现全球首个5G Sub-6GHz载波聚合商用
标签
AR
art
Astra
best
Dropshipping
Elementor
HM
hosting
IT
load
POP
SS
Tor
VPN
VPS
WP
使用
分享
发货
可能
吴明毅
商业评论
地址
存在
建网站
推荐
支持
文章
方法
更新
机
步骤
漫画家
潇湘Lee
用
申请
网站
老刀
自己
芒果
设置
通
速卖通
问题
驼鹿
ad
近期文章
一季度营收和营业利润双双创下新高,利润超越行业领头羊
2026年大学生方程式发布会成功举办,助力青年创新
推出“海纳百川”计划2.0,发布双车,开启全球混动新时代
不责备特定区域
全系车型亮相车展,概念车首次展出
裁员10%以释放资源支持人工智能进步
第一季度电动车生产超过6.1万辆,但未达年产能水平
将推出六款新产品,自动驾驶入华时间再次延迟
Model S和X生产线将升级为新生产线
投资可能出现合并的太空公司?
今日首发的手机,配备增距镜头
电池续航标准解析:万级续航的五个关键因素
搭载天玑9500芯片的至尊版,专注于射击游戏体验
新款手机疑似获得无线电认证:电池型号最大
导航决策能力增强
车展发布电动战略提速:2027年电动车占比目标超50%
七大智能体增强座舱体验更加人性化
首款无人驾驶出租车正式发布,预计2027年开始量产
新车型上市,5.9秒破百,起售价11.88万元
2026车展:U9X量产高定与U8L鼎藏版全球首秀
智驾 ADS 5 新品发布
发布新版本:提高运算效率,降低成本
DeepSeek-V4发布并开源
YU7 GT 预计在5月底推出
第三代人形机器人预计即将发布
马斯克计划研发自主图形处理单元,上市文件泄露
计划自主开发图形处理器,已列入资本支出项目
首个大规模人形机器人生产工厂投入运营,年产能达100万台
FSD在中国的发布日期再次延后
福特宣布停止电动汽车业务,四年亏损超过百亿
A1和Q2停产,转型为电动车型
一季度财报发布:营收223亿美元,净利润同比增长超过50%
推出自愿离职补偿方案,涉及最多7%的员工
混元Hy3预览发布并开源:首个重建模型,智能体能力显著提升
智能座舱解决方案累计搭载超1800万辆,智能驾驶云图新增搭载量同比增长三倍
不当内容治理 聚焦换脸与盗用声音等违规行为
汽车智能化不仅是人工智能在车辆上的应用,更是对汽车行业的变革。
一季度财报显示营收223.87亿美元 净利润同比大增环比下降
大规模裁员8000人,6000个职位招聘暂停
编程中AI应用生成的新代码比例超过70%
Expand Menu
虚拟信用卡
美国开户
Current Page Parent
互联网技术
电商
Current Page Parent
互联网资讯
营销
人工智能
短视频
智能汽车
Google
Current Page Parent
互联网技术
Current Page Parent
互联网资讯
营销
电商
人工智能
Expand Menu
虚拟信用卡
美国开户
Current Page Parent
互联网技术
电商
Current Page Parent
互联网资讯
营销
人工智能
短视频
智能汽车
Google
Current Page Parent
互联网技术
Current Page Parent
互联网资讯
营销
电商
人工智能
互联网技术
/
互联网资讯
· 2023年11月3日
0
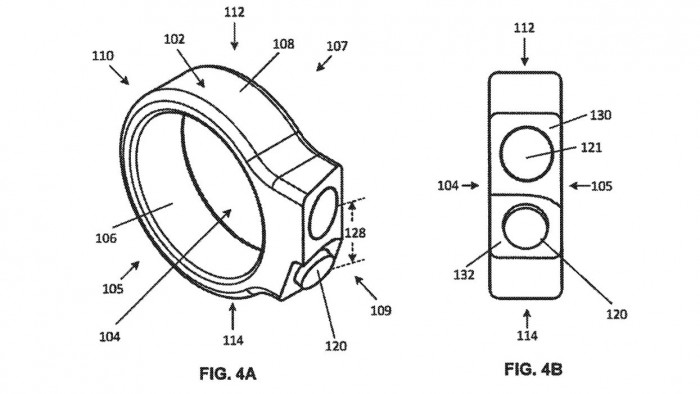
谷歌计划研发可穿戴自拍戒指 内置摄像头